项目一 平面磨床液压系统的使用

项目简介

图1-1 平面磨床外形
图1-1 平面磨床外形

某平面磨床的外形如图1-1所示,工作台纵向往复运动、磨头横向间歇进给、砂轮架快速进退及导轨润滑等动作均由液压系统完成。通过液压换向阀改变液压缸的液流通道,使活塞杆的移动方向发生改变,从而这些动作运动方向;通过液压流量阀来改变进入液压缸的流量,从而调节液压缸的运动速度;通过调节液压压力阀来改变进入液压缸的液体压力,从而改变液压缸的工作推力。

任务一 液压传动的基本知识

学习目标:

了解液压千斤顶的工作原理

了解磨床液压传动系统的组成及工作原理

了解液压传动系统原理图的表示方法及特点。

液压传动系统的基本原理

液压千斤顶的工作原理

视频1-1 液压千斤顶工作原理动画

视频1-1 液压千斤顶工作原理动画

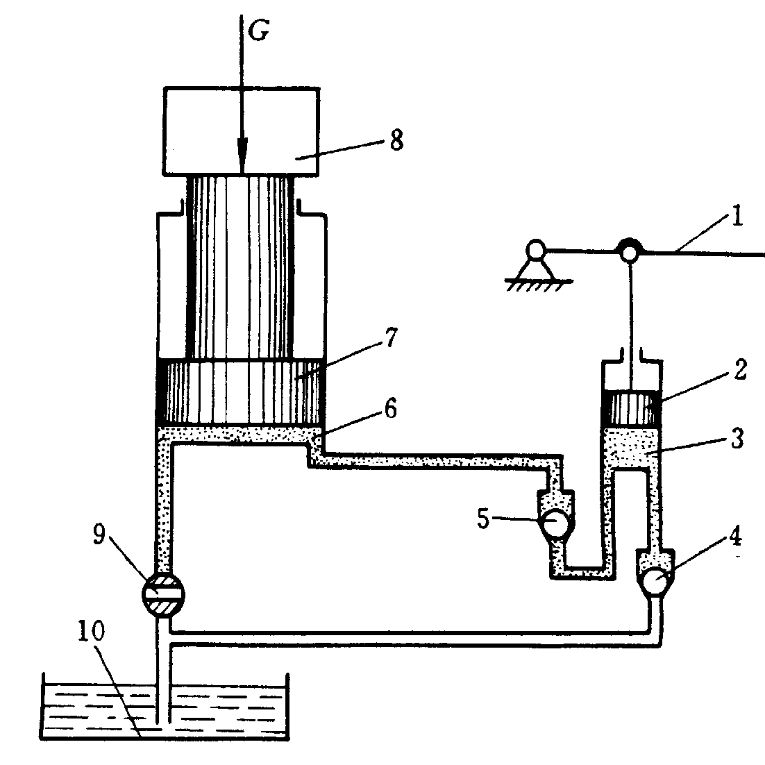
以图1-2所示的液压千斤顶为例来介绍液压传动的工作原理,其工作原理如图1-3所示。图中液压缸的活塞与缸体内壁之间要保持良好的配合,活塞既能在缸体内滑动,而且又能保证可靠的密封。液压千斤顶的工作情况如下:

(1)吸油:当向上抬起杠杆1时,小活塞2向上运动,小缸3下腔容积增大,小腔内因此产生局部真空,此时单向阀5关闭,油箱10中的油液在液面大气压的作用下通过单向阀4进入小缸的下腔,完成一次吸油过程。

(2)压油:压下杠杆,小活塞向下移动,小缸下腔容积减小,小腔内压力升高,这时单向阀4关闭,小缸下腔的压力油就打开单向阀5进入到大缸6的下腔,推动大活塞7将重物8向上顶起一段高度。

(3)反复地提压杠杆1,就可以使重物不断上升,达到起重的目的。工作完成后,打开截止阀9,大缸下腔接通油箱,大活塞在自重作用下向下移动,迅速下降到原位。

可以看出,小液压缸与两单向阀一起完成吸油和压油。该装置本质上是一种能量转换装置,它先将机械能(压下杠杆)转换为容易输送的压力能,后又将压力能转换为机械能(重物上升)做功。

图1-2 液压千斤顶实物
图1-2 液压千斤顶实物
图1-3 液压千斤顶的工作原理及组成1—杠杆 2—小活塞 3、6—液压缸 4、5—单向阀 7—大活塞 8—重物 9—截止阀 10—油箱
图1-3 液压千斤顶的工作原理及组成1—杠杆 2—小活塞 3、6—液压缸 4、5—单向阀 7—大活塞 8—重物 9—截止阀 10—油箱

平面磨床液压系统的工作原理

视频1-2平面磨床液压系统的工作原理动画

视频1-2 平面磨床液压系统的工作原理动画

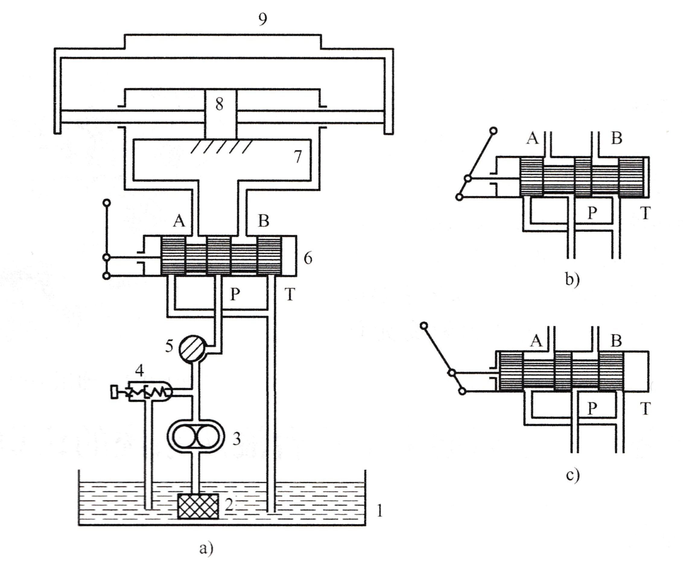
图1-1所示是机械加工中经常使用的平面磨床,图1-4是其简化后的液压系统原理及组成。该液压系统能实现磨床工作台往复直线运动。其工作原理如下:

图1-4 磨床工作台液压系统的工作原理及组成
图1-4 磨床工作台液压系统的工作原理及组成

1-油箱 2-滤油器 3-液压泵 4-溢流阀 5-节流阀

6-换向阀 7-手柄 8-液压缸 9-工作台

(1)工作台停止:在图1-4中,液压泵3由电动机(图中未示出)带动旋转,通过滤油器2从油箱1中吸油并送入密闭的系统内。当换向阀6阀心在图示的中间位置时,则液压缸两油口均被封闭,活塞静止不动。

(2)工作台右移:当将换向阀手柄右扳,使阀心处于图1-4b所示的位置,则液压泵输出的压力油经节流阀5和换向阀6进入液压缸7的左腔,推动活塞和工作台向右运动,而液压缸右腔的油液经换向阀和回油管排回油箱。

(3)工作台左移:若将换向阀6手柄扳到左边位置,使阀心处于图1-4c所示的位置,则压力油经换向阀进入液压缸的右腔,推动活塞与工作台向左运动,并使液压缸左腔的油液经换向阀和回油管排回油箱。

(4)工作台速度和推力调节:若改变节流阀5的阀口大小,可以改变进入液压缸的流量,从而控制缸活塞的运动速度,此时液压泵输出的多余油液经溢流阀5和回油管排回油箱。系统工作时,液压缸内工作压力的大小取决于磨削工件时切削阻力的大小。液压泵的最高压力由溢流阀4调定。

液压传动系统原理图表示

半结构图

图1-4所示的液压系统是一种半结构式的工作原理图,它有直观性强、容易理解的优点,但图形比较复杂,绘制比较麻烦。

图形符号图

图1-5所示是上述液压系统用液压元件图形符号绘制的工作原理图。使用这些图形符号可使液压系统图简单明了,易于绘制,在实际中一般都采用这种方法。

图形符号只表示元件的功能,不表示元件的具体结构和参数,并以元件的静止状态或零位状态来表示。我国制定了液压与气动元(辅)件图形符号标准(GB/T786.1-2009),其中最常用的部分可参见附录和有关液压气动手册。

图1-5 磨床工作台液压系统的原理
图1-5 磨床工作台液压系统的原理

1-油箱 2-滤油器 3-液压泵 4-溢流阀 5-节流阀

6-换向阀 7-液压缸 8-活塞 9-工作台

课内练习测验题:

判断题(共4题,每题1分)

1. 液压千斤顶吸油是依靠大气压力的作用。

2. 液压千斤顶在压油时,小液压缸内压力高于大液压缸压力。

3. 液压千斤顶工作时,先是将机械能转化为压力能,而后又将压力能转化为机械能。

4. 液压系统原理图一般使用液压元件符号来绘制的。

简答题(共2题,每题2分)

5. 在图1-4平面磨床液压系统中,控制工作台速度、方向及推力大小各是什么元件?

6. 想一想,在日常生活中你见过哪些采用液压传动的设备?

任务二 液压与气压系统的组成及特点

学习目标:

掌握液压与气压系统的组成及作用

了解液压与气压传动的特点

1.液压与气压传动系统的组成

从上面的例子可以看出,液压与气压传动系统主要由以下几部分组成:

1)动力元件 将机械能转换成流体的压力能的元件。一般指液压泵和空气压缩机,其作用分别是向系统提供压力油和压缩空气。

2)执行元件 将流体的压力能转换成机械能的元件。它可以是作直线运动的液压缸或气缸,也可以是作回转运动的液压马达或气压马达。

3)控制调节元件 对系统中流体的压力、流量和流动方向等进行控制和调节的元件,以及进行信号转换、逻辑运算和放大等功能的信号控制元件。例如溢流阀、节流阀、换向阀等。

4)辅助元件 保证系统正常工作所需的其余所有的元件。如管道、油箱、过滤器、蓄能器、油雾器、消声器等。

5)工作介质 传递压力能的流体,包括液体和气体。

2.液压传动的特点

液压传动与机械传动、电力传动方式相比,具有如下优点:

1)液压传动能在较大范围内实现无级调速(调速范围可达2000)。

2)在同等功率下,液压装置体积小,重量轻。例如液压马达的体积和重量只有同等功率电动机的12%左右。

3)工作平稳,换向冲击小,便于实现快速起动、制动和频繁的换向。

4)易于实现过载保护,安全性好,采用矿物油作为工作介质,自润滑性好。

5)操纵控制方便,便于设备实现自动化。特别是和电气控制结合时,易于实现复杂的自动工作循环。

6)液压控制元件标准化、系列化和通用化程度高,便于设计、制造和使用维修。

液压传动的缺点是:

1)液压传动系统中存在的泄漏和油液的可压缩性,影响了传动的准确性,故不宜用于要求具有精确传动比的场合。

2)液压传动系统工作过程中往往有较大的能量损失(如泄漏损失、摩擦损失等),因此液压传动效率不高,并且不宜作远距离传动。

3)液压传动对油温的变化比较敏感,不宜在很高或很低的温度条件下工作。

4)液压件制造精度较高,系统工作过程中发生故障时不易诊断和排除。

3.气压传动的特点

气压传动具有一些独特的优点,主要有以下几点:

1)以空气为工作介质,来源方便,使用后可以直接排入大气中,处理简单,不污染环境。

2)空气的粘度很小,在管道中的压力损失较小,因此压缩空气便于集中供应(空压站)和远距离输送。

3)压缩空气的工作压力一般较低,因此对气动元件的材料和制造精度要求较低。

4)工作环境适应性好,特别是在易燃易爆、多尘埃、强辐射、振动等恶劣环境下工作,比液压、电子、电气控制优越。

5)维护简单,使用安全可靠,能够实现过载保护。

气压传动的缺点有:

1)由于空气的可压缩性大,所以气压传动工作速度的稳定性较差,易受负载变化的影响。

2)工作压力较低(一般为0.4~0.8MPa),系统输出力较小,传动效率较低。

3)排气噪声较大,在高速排气时需安装消声器。

总的来说,液压与气压传动的优点是主要的,而它们的缺点通过科学技术的发展不断得到克服或改善。例如,将液压传动、气压传动、电力传动、机械传动合理地联合使用,发挥各种传动的优势,可以设计出各种机电液气一体化设备。

课内练习测验题:

判断题(共8题,每题1分)

1. 液压泵为液压系统的动力元件。

2. 液压缸是将液体压力能转化为机械能的液压元件。

3. 气压系统的动力元件为空压机。

4. 液压辅助元件可有可无。

5. 液压系统的控制元件一般是指各种控制阀。

6. 液压传动易于实现过载保护,但工作平稳性很差。

7. 液压传动适宜作远距离传动。

8. 液压传动相对于机械传动,其效率比较高。

选择题

9. 液压系统的执行元件是( )。

10. 液压系统中,液压泵属于( )。

11. 液压传动与机械传动相比,其特点有( )。

简答题(共3题,每题2分)

12. 液压传动和其他传动方式比较,其最显著的优点和缺点各有哪些?

13. 液压传动和气压传动效率在实际中都比较低,以千斤顶为例解释其原因。

14. 想一想,在汽车、数控机床、机器人中,哪些动作是依靠气压传动来完成的?